單拐曲軸鍛件的鍛造工藝
文章出處:未知
人氣:
發表時間:2019-01-26 15:57
單拐曲軸按其形狀尺寸和工藝要求的不同,有兩種鍛造方法。第—種是采用拔長一切肩一沖孔工藝,可以鍛出拐身開擋和軸頸。另一種是采用拔長切肩一拔桿工藝,不能鍛出拐身開擋和軸頸。
1.工藝I
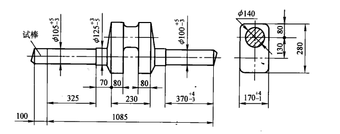
對于需要鍛出拐身開擋和軸頸的單拐曲軸鍛造工藝,下面以42CrMo鋼單拐曲軸為例,說明鍛造操作及質量控制的特點。圖所示為單拐曲軸鍛件圖。

該單拐曲軸選用鋼錠鍛造,需切冒口20%-25%,切底部5%-7%,取鋼錠的利用率為70%-75%、坯料系兩件下料,總質量為329kg。選用的鋼錠質量為:

主要鍛造工序是拔長、切肩、沖孔、切割及摔圓等,三火次鍛造完工。鍛件的工藝損耗有火耗、沖孔芯料、切割連皮等,總耗量取20%。坯料質量計算如下:m坯=m鍛(1+20% )
邊長為300mm的正方體鋼錠的質量為600kg,符合要求。但其截面面積太小,直接進行拔長鍛造,鍛造比僅為1.79,達不到工藝要求,會降低鍛件的內部質量。因此,鍛造時采用先鐓粗再拔長工藝來增大鍛造比。單拐曲軸鍛造工藝如圖所示。

鍛造時所使用的工具有單面三角刀、墊鐵、圓摔、剁刀、扁方沖等。此外,切除沖孔連皮還需扣棍一根,測量拐舞及軸頸的形狀尺寸還需樣板一塊。采用拔長一切肩工序,其缺點是拐身金屬纖維被切斷,力學性能下降。為防止金屬纖維被切斷,選用單面三角刀的刃口要有適當的圓弧。
40CrMo材料的導熱性較差。先在900℃裝爐均熱一段時間,以減少金屬內外溫差所引起的熱應力,避免鍛造中開裂。再快速加熱至 1150-1180℃,保溫一段時間后出爐鍛造。鍛造時先切去鋼錠冒口,鐓粗到長500mm后,拔長成扁方。拔長時應從鋼錠的中間向兩端拔,使鋼錠內部的疏松、非金屬夾雜等擠向兩端被切除,以提高鍛件的使用性能。考慮到曲拐處因切肩和鍛軸頸會引起拉縮,切肩前扁方坯的高度方向應留有足夠的修正余量。僅從一邊切肩時,余量一般取曲拐 高度的12%,兩邊都切肩時,余量取25%。這里拔長成高300mm、寬180mm的扁方,然后切除錠尾。
右端軸部分的質量為40kg。根據體積不變定律,在距端面95mm處切肩,切肩印痕為llOmm。拐身鍛造難度大,鍛造時曲拐兩側有 余面,還有沖孔芯料、切去連皮等損耗,所以將拐身質量由70.5kg 增加到80.5kg。由此得出拐身切肩長度為190mm,切肩深度仍為110mm。將右端95mm長的切肩拔成125mm長的方坯,然后倒角成對邊距為125mm的八角形。

采用單面切割的方法,在距拐身左側85mm處切下一件。將切割斜面凸出的一端胃在軸桿一邊。
將一端已拔長的鍛坯局部加熱后,按上述方法將另一端拔長成對邊距為125mm的八角形。
沖孔是鍛制拐身軸頸的關鍵,不能沖偏。沖孔前先擊平拐身的前后平面,然后用60mm×1OOmm的扁方沖頭在拐身平面上選準位置沖孔。沖穿后沖頭留在孔內,待修正拐身平面后再擊出沖頭。
第三次送入爐內加熱時,由于變形量不大,加熱溫度不宜太高。
將兩端八角形軸桿分別拔長滾圓成直徑為φ106mm和φl0mm,然后摔圓,切除料頭。
用扣棍去除拐身處連皮后,立即用狹摔子摔圓φ140mm的軸頸。摔圓時注意拐身長230mm,不能超差。***后將軸鍛件校直,放人砂中緩慢冷卻。用同樣的工序再鍛造切下的另一件。
如曲軸帶有力學性能試驗試棒,需軸向放長100mm,試棒位置應在鋼錠的冒口端。
2.工藝II
圖所示的單拐曲軸,形狀與上圖相似,僅尺寸不同。這里的拐身開擋和軸頸不鍛出,采用鍛扁方、切肩、拔長等工藝。圖為單拐曲軸的鍛造工藝。


材料:45鋼;鍛件質量:66kg;坯料質量:78kg;坯料尺寸: φ180mm x 390mm。

關注公眾微信號 